Todavía no está en las carreteras comunes el coche autónomo de Google, cuando ya hablamos de los coches voladores. Un tema que no es nuevo y en el que, según cuentan desde Bloomberg, está inmerso Larry Page, uno de los fundadores de Alphabet Inc. (Google).
El directivo creó hace tres años la start-up Zee.Aero donde ha invertido más de 100 millones de dólares en todo este tiempo y donde actualmente trabajan 250 profesionales provenientes de la NASA, Boeing o SpaceX. El pasado año también invirtió en Kitty Hawk. Dos compañías que independientes con un mismo fin: crear el coche volador.
El coche volador podría estar listo en 5 o 10 años
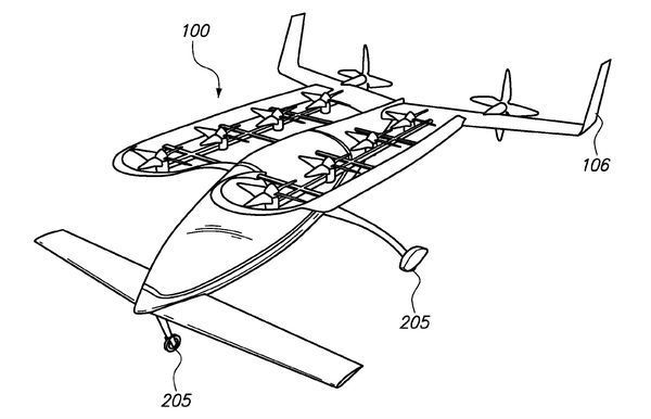
El proyecto de Zee.Aero, denominado en clave GUS, tendría el aspecto de un pequeño avión con patas delanteras. De hecho, las patentes registradas en 2012 mostraban un vehículo -porque llamarlo coche con ese aspecto quizás no es lo más acertado- que se parecía más a un avión que a un coche.
Por su parte, Kitty Hawk comenzó el pasado año la búsqueda de emplazamiento para abordar un proyecto similar. Una iniciativa independiente que busca en unos 5 a 10 años contar con un vehículo autónomo y listo para que cualquier conductor lo pueda llevar. Un avance que seguirá abriendo puertas tecnológicas.
¿Veremos coches voladores? ¿Qué te parece estas iniciativas de Larry Page?






