
La carrera por crear el sistema de envío de paquetes con drones más eficiente y rápido continúa. El último en subirse al carro es Walmart que ha publicado la patente de un dispositivo que en un futuro, cuando las leyes lo permitan, podría llevar volando los pedidos a los domicilios de los consumidores.

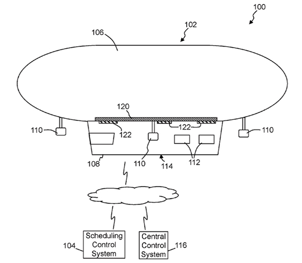
El sistema patentado por Walmart se basa en la misma idea que las propuestas de otros competidores. Tal y como explican, se trataría de una máquina de estilo ciego que podría realizar vuelos de entre unos 150 y 300 metros de altura.
El dispositivo sería capaz de llevar varios paquetes y se dirigirá de forma autónoma o remota por un piloto humano.
Esta patente de Walmart es el último ataque directo a Amazon. Después de la compra de Whole Foods por parte del gigante de Jeff Bezos, la cadena de supermercados americana ha pisado el acelerador de la innovación para no quedarse atrás ante el líder del comercio electrónico.
En este sentido, Walmart ha presentado además de esta última innovación, otras propuestas como las torres de recogida rápida donde los compradores pueden recoger directamente sus pedidos sin hacer colas.
Todos detrás de Amazon
La idea registrada de Walmart parece que llega tarde, sobre todo, si tenemos en cuenta que ya en 2013 Amazon estaba hablando de la posibilidad de hacer envíos con drones. Aunque hasta 2016 no vimos una patente al respecto, lo cierto es que la tienda on-line va muy por delante.
No es la única. Google también lleva tiempo probando con los drones. Unos dispositivos voladores que este año estarían listos para su despegue. Por su parte, operadoras como AT&T o Verizon están buscando su espacio.
El nicho en pleno desarrollo con grandes expectativas a nivel profesional. Y es que los drones no solo pueden servir para enviar pedidos. Estos dispositivos abren un sinfín de posibilidades donde la imaginación es el único límite. En España, concretamente, el área audiovisual copa el uso de estos sistemas pero el sector espera que con la ayuda de nuevas normativas su uso se dispare en nuevos usos.





